耐磨性特優的承載鏈:安全性方面重要性的零部件承載鏈采用日立公司自行研制的堅韌可靠、耐磨性超凡的強力鏈條。" />
1.小型輕量,安全可靠:日立款環鏈電動葫蘆自上市以來,已有20多年歷史,經驗豐富、技術水平高,深受用戶歡迎。
2.耐磨性特優的承載鏈:安全性方面重要性的零部件承載鏈采用日立公司自行研制的堅韌可靠、耐磨性超凡的強力鏈條。
3.電磁制動器使用壽命長 :支承載荷用的制動器采用日立公司開發的盤式電磁制動器,使用壽命可達100萬次以上。
4.采用低壓設計,以防萬一 :考慮到萬一漏電事故,以手指觸控的按扭開關的操作電壓,均設計到24V低壓。
5.富有操作性的整體式按扭用電纜 :采用緊強可靠的保護鋼絲整體式按扭用電纜,便于使用,不妨礙機器的操作。增強塑料制承載鏈收存容器,強韌耐用。

外殼:鋁合金外殼,堅實而質輕。有特色散熱片,散熱快,可連續使用,效率達40%。整體密閉式結構,可使用在化工廠、電鍍廠等地方。
磅磁剎車:新設計的磁力產生器,其特性為產磁。可在電源切斷的同時間剎車,保證吊重時剎車確保安全。
鏈條:采用進口FEC80超級加熱處理合金鋼鏈條。在雨水、海水、化學品及其他惡劣狀況下使用安全無慮。
極限開關:吊上吊下都有極限開關裝置,使自動停止,防止鏈條超出,確保安全。
吊鉤:經熱鍛造,強度絕佳,不易斷裂。下吊鉤可360°旋轉,附安全舌片,確保操作安全。
支撐架:吊重支撐架由兩片鋼板組合,非常堅固。
電磁接觸器:高效率電磁接觸器,可高頻率使用,沒有問題。
變壓器:24V/36V變壓裝置。操作時,萬一漏電,可防止意外事故發生,下雨時,可保證安全使用。
按鈕開關:使用防水按鈕開關,輕便耐用。
逆相保護裝置:特殊電線裝置,當電源接線錯誤時,控制電路無法動作。

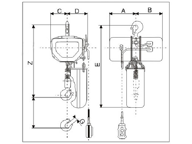
日立款環鏈電動葫蘆設計圖
| 尺寸規格表size specification | |||||||||
| 型號 type | 荷重(t) capacity |
單位(mm)unit | |||||||
| A | B | C | D | E | Z | G | Chain | ||
| HHBDC01-01 | 1 | 216 | 216 | 135 | 170 | 68 | 530 | 31 | φ7.1 |
| HHBDC02-02 | 2 | 90 | 215 | 705 | 645 | 26 | |||
| HHBDC03-03 | 3 | 125 | 270 | 900 | 800 | 42 | |||
| HHBDC05-05 | 5 | 175 | 340 | 1000 | 895 | 48 | |||
| 技術參數techincal parameters | |||||||||
| 型號 type | 起重量(t) capacity |
起升高度 (m) |
起升速度 (m/min) |
功率 (Kw) |
轉速 (r/min) |
相數 | 電壓(V) | 頻率 hz/s |
|
| HHBDC01-01 | 1 | 3/9 | 4.6 | 1.1 | 2800 | 3 | 220/440 | 50/60 | |
| HHBDC02-02 | 2 | 2.3 | |||||||
| HHBDC03-03 | 3 | 1.6 | |||||||
| HHBDC05-05 | 5 | 0.9 | |||||||
產品廣乏應用于:模具,機械制造,物流,造船,倉儲,橋梁建設等工業工廠生產流水線及其他特殊用途。
以上參數為常規型號,另公司可根據您的需求量身定制。
更多關于電動葫蘆的文章請關注:http://m.zjminghe.com